Зажим ответвительный изолированный ЗСГП 35-95/6-35 IEK
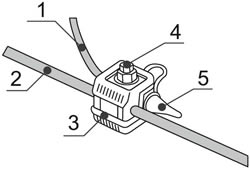
Ответвительные изолированные зажимы серии ЗСГП предназначены для подключения самонесущего изолированного провода к магистральной неизолированной линии.
Применяются для выполнения абонентских ответвлений проводом СИП от токоведущих жил СНП напряжением до 1 кВ.
Размеры

Материалы и цвета
- Цвет: Черный.
- Материал корпуса: механически прочный термопластик, армированный стекловолокном.
Особенности конструкции
- При затягивании болта ножи контактной пластины образуют надежный электрический контакт, прокалывая изоляцию ответвительного проводника, одновременно с этим зажимая поверхность неизолированного магистрального проводника.
При достижении определенного усилия, достаточного для создания надежного электрического контакта, происходит срыв верхней головки болта.
- Для удобства монтажа и транспортировки каждый болт обвальцован для предотвращения возможного разъединения составных частей.
- В случае появления необходимости снятия ответвительного зажима с линии изделие может быть извлечено с помощью соответствующего ключа.
Технические характеристики
| Тип изделия | зажим ответвительный изолированный ЗСГП для подключения СИП к СНП |
| Сечение неизолированной магистрали, кв.мм | 35 - 95 |
| Сечение ответвления СИП, кв.мм | 6 - 35 |
| Номинальный ток зажима, А | 95 |
| Номинальное напряжение, В | 1000 |
| Выдерживаемое напряжение промышленной частоты при испытаниях электрической прочности изоляции, кВ | 6 |
| Момент срыва головки болта при монтаже, Н*м | 15 |
| Температура эксплуатации, °C | -60... +55* |
| Относительная влажность воздуха, не более, % | 95 |
| Минимальная температура окружающей среды при монтаже, °C | -10 |
| Вес изделия, г | 143 |
| Срок службы, лет | 40 |
* Допускается применение арматуры при температуре окрыжающей среды до +80 °C и относительной влажности до 60 %.
Монтаж
![]() |
|
Меры безопасности
- Стяжной монтажный болт со срывной головкой изолирован от токоведущих частей, что позволяет производить установку зажимов под напряжением.
- Однако во время монтажа необходимо принять меры от случайного прикосновения к СНП и (или) для уравнивания потенциала при работе на изолированном подъемном устройстве.
Если это невозможно, то отключить напряжение на линии и выполнить мероприятия по охране труда при эксплуатации электроустановок.
Преимущества
- Доставка по всей России
- Более 200 000 товаров в ассортименте
- Профессиональная консультация
- Кабель БЕЗ опасности
- Качество по ГОСТу
-
Зайдите на страницу товара и нажмите на кнопку «В корзину».
Далее можно продолжить покупки или перейти к оформлению заказа.
-
Перейдите в Корзину и нажмите «Перейти к оформлению».
Можно авторизоваться или оформить заказ без регистрации. Зарегистрированные пользователи могут:
- Отслеживать статус заказа
- Получать спецпредложения и промокоды на дополнительные скидки
- Укажите Ваши контакты: ФИО, телефон и e-mail.
- Выберите способ получения заказа (доставка или пункт самовывоза) и способ оплаты.
- Далее «Оформить заказ».
Готово: ваш заказ создан! По электронной почте или в личном кабинете Вы можете отслеживать статус заказа.
Теперь останется только ждать доставки и радоваться новой покупке!
Оплачивайте покупки удобным способом.
В нашем интернет-магазине доступно 3 варианта оплаты:
- Оплата наличными или картой при самовывозе в пункте выдачи заказов/магазине.
- Онлайн-оплата на сайте при оформлении заказа. Для совершения покупки система перенаправит вас на страницу платежного сервиса. Здесь необходимо заполнить форму по инструкции.
- Оплата по счету для юридических лиц. Оплата происходит после предоставления реквизитов для выставления счета. Покупатель получает счет на указанный e-mail.
Доступно 3 варианта доставки:
- Самовывоз из магазина. Список торговых точек для выбора появится в корзине. Для получения заказа обратитесь к сотруднику в кассовой зоне и назовите номер заказа.
- Доставка транспортной компанией СДЭК или Почтой РФ в отделение или постамат.
По всем возникающим вопросам можете позвонить нам на горячую линию:
Ежедневно с 8:00 до 20:00 по МСК
E-mail: help@kristall43.ru
Адрес: 610000, г. Киров, ул. Щорса, 68г, кабинет 3
