Комплект промежуточной подвески КОПМ1500 (ES1500) IEK
Комплект промежуточной подвески КОПМ1500 предназначен для подвеса на промежуточных опорах воздушных линий электропередачи изолированных (ВЛИ) с несущей нейтралью напряжением до 1 кВ в системе самонесущих изолированных проводов СИП-2.
В комплект промежуточной подвески КОПМ 1500 входят промежуточный поддерживающий зажим ЗПН 1500 и кронштейн.
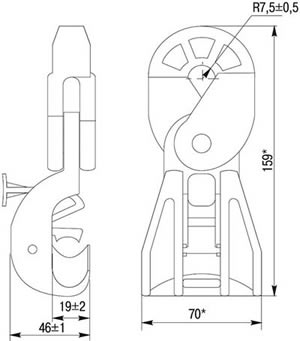
Размеры
![]() зажим ЗПН 1500 |
![]() кронштейн |
Материалы
- Материал кронштейна:
алюминиевый сплав (устойчив к действию коррозии).
- Материал промежуточного зажима:
полимер, укрепленный стекловолоконной структурой (устойчив к ультрафиолетовому излучению и погодно-климатическим условиям).
Особенности конструкции
- Нейтраль фиксируется регулируемым зажимом.
Подвижное соединение позволяет зажиму двигаться в продольном и поперечном направлениях.
- Кронштейн имеет выступ в верхней части, не позволяющий зажиму перейти в верхнее положение.
- Кронштейн имеет отверстие для его крепления к опоре с помощью анкерных винтов.
- Имеется возможность крепления кронштейна к столбам с помощью бандажной ленты.
Для облегчения процесса монтажа ленты кронштейн снабжен разделительными фасками.

Технические характеристики
| Тип изделия | комплект промежуточной подвески несущей нейтрали СИП-2 |
| Сечение несущей нейтрали СИП-2, кв.мм | 16 - 95 |
| Диаметр несущей нейтрали СИП-2, мм | 8 - 15 |
| Способ крепления | зажим / струбцина |
| Тип соединения частей конструкции | зажим / хомут / скоба |
| Разрушающая нагрузка ЗПН 1500, Н | 12000 |
| Температура эксплуатации, °С | -60... +70 |
| Относительная влажность воздуха, не более, % | 95* |
| Климатическое исполнение и категория размещения | УХЛ1 (ГОСТ 15150) |
| Вес комплекта, кг | 0,53 |
| Срок службы, лет | 40 |
* Допускается применение арматуры при температуре окружающей среды до +80 °С и относительной влажности 60 %.
Преимущества
- Доставка по всей России
- Более 200 000 товаров в ассортименте
- Профессиональная консультация
- Кабель БЕЗ опасности
- Качество по ГОСТу
-
Зайдите на страницу товара и нажмите на кнопку «В корзину».
Далее можно продолжить покупки или перейти к оформлению заказа.
-
Перейдите в Корзину и нажмите «Перейти к оформлению».
Можно авторизоваться или оформить заказ без регистрации. Зарегистрированные пользователи могут:
- Отслеживать статус заказа
- Получать спецпредложения и промокоды на дополнительные скидки
- Укажите Ваши контакты: ФИО, телефон и e-mail.
- Выберите способ получения заказа (доставка или пункт самовывоза) и способ оплаты.
- Далее «Оформить заказ».
Готово: ваш заказ создан! По электронной почте или в личном кабинете Вы можете отслеживать статус заказа.
Теперь останется только ждать доставки и радоваться новой покупке!
Оплачивайте покупки удобным способом.
В нашем интернет-магазине доступно 3 варианта оплаты:
- Оплата наличными или картой при самовывозе в пункте выдачи заказов/магазине.
- Онлайн-оплата на сайте при оформлении заказа. Для совершения покупки система перенаправит вас на страницу платежного сервиса. Здесь необходимо заполнить форму по инструкции.
- Оплата по счету для юридических лиц. Оплата происходит после предоставления реквизитов для выставления счета. Покупатель получает счет на указанный e-mail.
Доступно 3 варианта доставки:
- Самовывоз из магазина. Список торговых точек для выбора появится в корзине. Для получения заказа обратитесь к сотруднику в кассовой зоне и назовите номер заказа.
- Доставка транспортной компанией СДЭК или Почтой РФ в отделение или постамат.
По всем возникающим вопросам можете позвонить нам на горячую линию:
Ежедневно с 8:00 до 20:00 по МСК
E-mail: help@kristall43.ru
Адрес: 610000, г. Киров, ул. Щорса, 68г, кабинет 3

